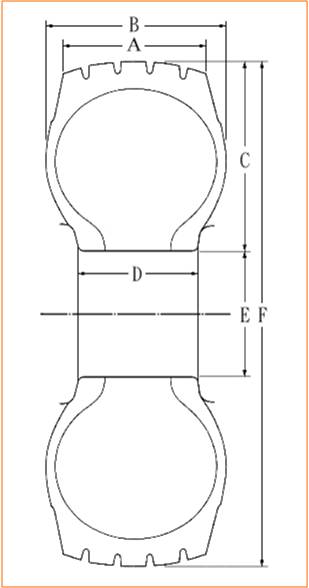
1、轮胎参数的寓意:

A:胎面宽度
B:轮胎断宽
C:轮胎断高
D:轮圈宽度
E:轮圈表径
F:轮胎表径
G:扁平比:轮胎断高/轮胎断宽
2、胎边文字标示

其他常见的规格标识步骤:
a.11.00 R 20 16PR
A B C D
A:轮胎最大宽度 (英吋) B:轮胎结构 (RADIAL) C:轮胎内径 D:层级
b.11 R 22.5 16PR
A B C D
A:轮胎最大宽度 (英吋) B:轮胎结构 (RADIAL) C:轮胎内径 D:层级
*与a唯一分歧的是此种标识步骤代表轮胎为免内胎轮胎。
3、轮胎斑纹标识之斑纹模具号

*分歧的斑纹大局对使用产生很大的影响,因而在选择轮胎的时辰相宜的斑纹也是至关沉要的。
4、轮胎斑纹标识之DOT号

5、轮胎斑纹标识之轮胎能力标识

152/148 : 单轮、复轮切合指数
M: 快率指数
16PR:层级
TUBRELESS : 免内胎
6、轮胎斑纹标识之其他标识

使用本站前必要您仔细阅读并赞成PP电子隐衷权;ど昝。
By using our site, you acknowledge that you have read and understand our Privacy Policy.